|
| |
| 聯系我們 / CONTACT US |
|
| 河北嘉斯機械配件有限公司 |
| 手機:15930385188 13833801759 |
| 傳真:0318-3408528 |
| 地址:衡水市人民西路南護開發區3號 |
| Q Q:464188009 |
| 郵箱:hbjs@sztp.com |
| 網址:http://m.jingzhoustudio.net |
|
|
| |
|
|
|
|
|
|
| 可調冷卻管 JS.110003 |
發布日期:2016/4/22 16:50:57 |
| 產品瀏覽:3556
次 |
| 產品分類:其它系列產品
|
| 訂購熱線:15930385188 13833801759 |
 |
|
|
|
| 描述 |
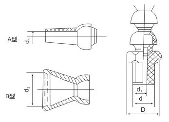
JS.110003 可調冷卻管 顏色:藍色 材質:工程塑料、鐵 用途:適用于液壓機械、數控機床用作油、水冷卻系統配用 特性:可任意調節使用長度,噴嘴直徑大小、圓扁互換,方向可轉


|
|
|
| |
 |
|
|
|